
一、 簡介:
ADL端子拉力測試儀是我公司針對線束及電子行業研制開發的一種檢測設備,專用于檢測各種線束接線端子的拉脫力。可配置NK、HF推拉力計和專用夾具,本儀器具有設備小巧、控制準確、測量精度高、試件裝夾方便、操作簡單等特點,是線束生產廠家確保產品質量的理想設備。
二、 儀器介紹:
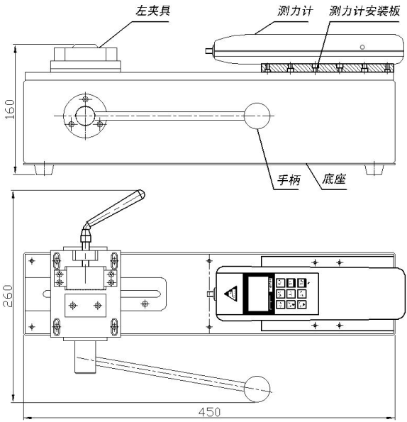
1、 儀器的機座(如下圖所示):

臥式安裝。
· 手動操作,操作簡單穩定。
· 可將本機臺安裝于桌(臺)上使用,使機架更加穩固。
· 長×寬×高:450mm×260mm×160mm。
· 有效行程:50mm。
· 額定負荷:500N。(也可配置1000N)
· 凈重:10.6Kg。
1、 儀器的推拉力計:
一般標準配置為數顯式推拉力計HF—500。(也可配置指針式推拉力計NK—500,價格不同)
⑴ 數顯式推拉力計
A、 型號:HF—500。
B、 最大負荷:500N(Kg、N和ib三種單位可自動轉換)。
C、 分辨率:0.01N。
D、 精度:±0.5%。
E、 輸出接口:RS 232 九孔插座。
F、 電源:充電電源:220V/AC;電池連續工作時間:6~8小時。
G、 穩定性:溫漂:0.2uV/℃(0~60℃);零漂:≤ 0.1%/8小時/FS。
H、 標定范圍:滿量程標定。
I、 環境溫度:0~+60℃。
J、 環境濕度:≤ 80%。
K、 允許過載:150%。
L、 供電方式:5 號鎳氰電池組 /220V AC 充電 4~6 小時。
⑵ 指針式推拉力計
M、 型號:NK—500。
N、 最大負荷:500N(50Kg)。
O、 推拉桿行程:10mm。
P、 工作溫度:20℃±10℃。
Q、 運輸溫度:-27℃~+70℃。
R、 相對濕度:15%~80%RH。
S、 工作環境:周圍無震源及腐蝕性介質。
客戶可根據需要,配置相對應規格的測力計:
指針式推拉力計規格有NK—10、20、30、50、100、200、300、500。
數顯式推拉力計規格有HF—2、5、10、20、50、100、200、500、1000等。
2、 儀器的左夾具:
· 外形尺寸:115mm×180mm×30mm。
· 適用范圍:主要應用于插拔力測試、線束接線端子等拉力測試。
· 標準負荷:500N,最大負荷:1000N。
3、 儀器的右夾具:
· 型號:AJJ-06。
· 適用范圍:各種線纜、玻璃、皮革、各種電器元件等材料的拉力、破壞力、插撥力、線束接線端子等拉力測試。
· 標準負荷:500N,最大負荷:1000N
三、儀器的安裝方法:
1、機座的安裝方法:
本儀器可安裝在桌子上,使儀器更加穩固。安裝時請保證工作臺面水平,使測試得到準確的數值。安裝時請參照(長×寬:430mm×80mm,4個M4的螺紋孔)安裝。
2、推拉力計的安裝方法:
A、用M4扳手將測力計安裝板上4個M 4×16的內六角圓柱頭螺釘松開,卸下測力計安裝板;
B、安裝HF系列(數顯式推拉力計)的推拉力計時,用M4內六角扳手將附件袋里的4枚M4×10的內六角螺釘穿過測力計安裝板上90×40 的孔旋入測力計4個M4的螺紋孔內,將測力計安裝到測力計安裝板上;或用十字螺絲刀將附件 袋里的4枚M3×10的十字槽盤頭螺釘穿過測力計內,將測力計安裝到測力計安裝板上。 安裝板上145×30的孔旋入測力計4個M3的螺紋孔;
C、 安裝NK系列(指針式推拉力計)的推拉力計時,用十字螺絲刀把推拉力計后蓋上的4枚 M×10的螺釘卸下,將附件袋里的4枚M3×14的十字槽螺釘穿過測力計安裝板上的145×30的安裝孔, 旋入測力計后蓋上的4個M3螺紋 孔(卸下M3×10的螺釘的螺紋孔);
D、 安裝好推拉力計表后,用M4內六角扳手將測力計安裝板重新安裝到機架上面。
3、左夾具的安裝方法:
用M4內六角扳手將附件袋里的4枚M4×10的內六角螺釘穿過左夾具安裝板上4個調節孔旋入機臺底座板上4個M4的螺紋孔內,將左夾具安裝到機臺底座板上。
4、右夾具的安裝方法:
先用附件中的M6螺母旋到測力計的測力桿上,再將右夾具旋到測力計的測力桿上,調節M6螺母使其右夾具接連牢固即可。
四、一般測試操作過程:
1、將各種線束接線端子一端電線部分放入左夾具的夾口中,旋轉手柄以夾穩電線部分(線束接線端子已被壓住)。
2、將線束接線端子另一端放入右夾具的夾口中,旋轉把手以保持線束接線端子一端卡在中間。
3、用M4內六角扳手,將左夾具中心對準右夾具的中心。
4、若用HF系列(數顯式推拉力計)的推拉力計時,打開電源,待液晶顯示屏顯示為零后即可。
5、若安裝NK系列(指針式推拉力計)的推拉力計時,按一下切換按鈕,使指回到零位即可。
6、旋動機身的手柄,使其左夾具向左運動,并能夠右夾具卡住端子。
五、日常保養與維護:
1、請勿超載使用,本儀器額定負荷為500N。
2、注意日常的保養工作,保持儀器各部件清潔。
3、機臺出現故障時請及時聯系廠家或銷售點(請勿擅自拆卸、修理)。






