SF經濟型數顯推拉力計
- ¥:
- 1,000.00
- 型號:
- SF-2N SF-3N SF-5N SF-10N SF-20N SF-30N SF-50N SF-100N SF-200N SF-300N SF-500N
SF簡易型推拉力計
使用說明書
一、 用途
SF系列數顯式推拉力計是我公司研制的新一代數顯式推拉力計。體積是原有的1/2,便于用戶隨身攜帶,是一款操作簡便的推力、拉力測試儀器。廣泛適用于各種產品的推拉力負荷測試,插拔力測試、破壞試驗等,可結合各種機臺和夾具組成不同用途的小型實驗機。
二、功能特點
1、數字顯示,方便讀取,精度高。
2、重量輕,體積小,方便攜帶。
3、 單位顯示:N、Kg與Lb互相切換。
4、 電池有短路、漏電、過載保護,電池有低電量提示,采用3.7V鋰電池供電,同時十分鐘無操作將自動關機。
5、 具有兩種測量模式:實時、峰值自由切換。
三、外形結構

四、規格參數

五、屏幕顯示

①、峰值模式:開機后,進入測量界面,按“SET”鍵,即可進入“峰值模式”,記錄一個時段內測量到的最大力值。
②、推拉力表示:推拉力計不動,上方箭頭顯示為拉力,下方箭頭顯示為推力。
③、測量力值顯示。
④、三種單位顯示: N(牛)、kg(公斤)、lb(磅)三種單位分別顯示,按“UNIT”鍵轉換而成。
⑤、電量顯示。
六、按鍵介紹
OFF/ON(“開機/關機”鍵): 按此鍵時,電源打開,出現測量界面。關機時,再按此鍵即可關機。
ZERO(“置零”鍵):按此鍵時,屏幕上的測試值會被歸零。
SET(“模式切換”鍵):按此鍵時,進入峰值測量模式。按“SET”鍵可進入設置項界面。
UNIT(“單位切換”鍵):按此鍵時,可以切換三個不同單位。
七、開機顯示

八、功能介紹
a、設置項:
開機后按“SET”鍵4至5秒,再放開,即進入設置界面,顯示“HIDT”,再連續按“UNIT”,會依次出現其他的設置項:“LODT”、“L.SET”、“OFFT”、“G.SET”、“BAC.S”、“R.SET”,如下圖所示:

(HIDT)測試值上限設定:設定測試值上限,上限值默認狀態滿量程的99%。高于上限為超出范圍,儀器會鳴叫。若想重新設定上限值,可用“UNIT”鍵和“ZERO”鍵設定。按“SET”鍵保存后自動回到設定項目界面。如下圖所示:

(LODT)測試值下限設定:設定測試值下限,下限值默認為0。低于下限為超出范圍,儀器會鳴叫。若想重新設定下限值,與上步操作大同小異,用“UNIT”鍵和“ZERO”鍵設定。按“SET”鍵保存后自動回到設定項目界面。
(L.SET)峰值最小保存值:最小峰值保存值,峰值模式下,當前值小于該值時,峰值將不被保存。
(OFFT)自動關機時間設定:在此設置項目下,用“UNIT”鍵和“ZERO”鍵設定,可設定1分鐘到9999分鐘自動關機,也可設定“00”不自動關機。如選不自動關機,選定后按“SET”鍵完成設定。即返回到選項界面。儀器默認設置為10分鐘。
(G.SET) 重力加速度設定:用戶可根據本地區的位置設定重力加速度值,默認值為9.800。
(bAC.S)背光功能設定:在此設置項目下,用“UNIT ”鍵選擇,若選擇“
(YES)”表示開啟背光功能,選擇“
(NO)”表示關閉背光,選定后按“SET”鍵保存并返回到設置項目界面。
(REF)傳感器參考值:廠家參考值,用戶無需關注。
(dIr) 正負推拉方向:用于切換推拉力計正負方向。
(SHIE)取消屏蔽:屏蔽取消可顯示滿量程1%以下的數據。按“YES”為不取消,按“NO”為取消。
(R.SET)恢復出廠設置功能:在此設置項目下,按“SET”鍵即可恢復出廠設置,機器關機。若使用機器重新開機即可。
九、測試
按“開機”鍵 打開電源,根據需要使用出廠默認設置直接進行測試或選擇測試模式后進行測試。
1、選擇合適的測試用接頭夾具安裝到推拉力計上(自制夾具請參考“外形及安裝尺寸圖”中相關數據。
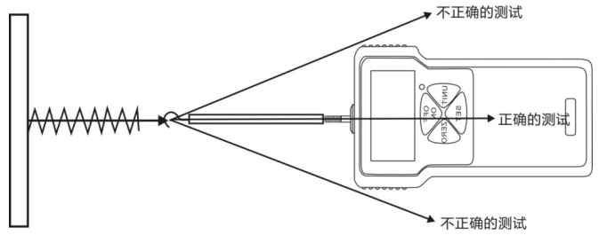
2、請牢固的握住推拉力計或將推拉力計安裝于合適的測試機臺上進行測試,試時請使被測試力和推拉力計的推拉桿成一直線,以便測得準確的荷重值。
3、測試完成后,卸下負荷,關閉電源,取下夾具,將各物件清潔后放回工具盒內,以備下次使用。

十、安全注意事項
1、 注意事項:
a、 購此儀器,若儀器電量不足需先充電4~6個小時,方可進行正常使用。
b、 如果操作錯誤,可能會損壞本儀器或導致嚴重的事故。本說明書中指出了預防事故發生的重要事項和儀器的使用方法,請在使用前仔細閱讀此說明書,閱讀后妥善保存,以備在此閱讀。
c、 如果是測試沖擊負荷請選用最大負荷比所要測試的沖擊負荷大一倍的機型。
2、 警告事項:
a、在破壞性測試時,應戴上保護面具和手套以防測試過程中發生的飛濺物質傷及人體。
b、不要使用已損壞或嚴重彎曲變形的夾具。自制夾具請參閱本說明書中相關的參數(本公司另備有各類夾具,客戶可根據需要;另行選購)。
C、不要超出最大量程來使用本儀器。否則可能導致傳感器損壞,甚至發生事故。
d、當測試值超過滿量程的100%時,蜂鳴器會連續鳴叫,此時請快速解除所加之負荷,或降低負荷,當測試值超過滿量程的120%時,儀器可能會損壞。
3、解決死機狀態:當儀器意外死機時,用硬物小圓桿按儀器的右側有個標示為“復位”鍵快速復位關機即可。
4、安全事項:
a、請使用配套的充電器充電,否則會引起電路故障,甚至引發火災。
b、不要使用充電器額定電壓以外的電源,否則可能會引起電擊或火災。
c、不要用濕手拔出或插入電源,否則可能導致觸電。
d、不要拉拽充電器的電源線來拔出插頭,以免電線被扯斷而遭電擊。
e、請用柔軟的布來清潔本機。將布浸入泡有清潔劑的水中,擰干后再清除灰塵和污垢。注意:不要使用易揮發的化學物質來清潔本機(如揮發劑、稀釋劑、酒精等)。
f、請勿在以下環境中操作本機
①潮濕的環境 ②多塵的環境 ③使用油或化學品的地方 ④周圍有震源的地方
g、請在規定的溫濕度范圍內使用及儲存,否則可能造成儀器故障。
h、不要自行拆卸修理或改造本機,這些行為可能引起儀器永久性故障。
i、其他安全生產需注意的未盡事項。
J、推拉力計送修前之確認項目

十一、外型及安裝尺寸圖

十二、隨機附件明細表






