一、功能
高速沖擊扭矩測試儀是為測試和檢測各種扭矩而設計制造的一種智能化多功能計量儀器。主要用于檢測和校正各種電動風動螺絲批、扭矩扳手的扭矩,各種產品涉及擰緊力的測試,零件扭轉破壞性試驗等。具有操作簡單,精度高、功能全、攜帶方便等特點,廣泛應用于各種電氣、輕工、機械制造、科研機構等行業。
二、主要特點
1、高精度、高分辨率、采樣速度快、全屏顯示。
2、采用高精度扭矩傳感器,具有扭矩方向顯示。
3、上下限值的設定,紅綠指示燈及峰鳴器聲光報警。
4、三種單位互相轉換,可供選擇(N·m、kgf·cm、Ib·in)。
5、實時、峰值、自動峰值三種模式可隨意切換。
6、采用USB接口與PC通訊,同步測試功能可連接電腦測試,電腦上同步顯示測試力曲線圖及測試過程中詳細的測試力的記錄,并可保存、打印,做各種分析。
7、峰值保持、自動解除功能、解除時間自由設定。
8、存儲量大、可保存99組測試數據。
9、無操作自動關機功能,時間可自由設定。
三、規格參數
|
機型 指標 |
帶打印機類 |
AGN- 1000P |
AGN- 2000P |
AGN- 3000P |
AGN- 5000P |
|
不帶打印機類 |
AGN- 1000 |
AGN- 2000 |
AGN- 3000 |
AGN- 5000 |
|
|
測量 范圍 / 分 度值 |
N·m |
1000.0 /0.1 |
2000.0 /0.1 |
3000.0 /0.1 |
5000.0 /0.1 |
|
Kg·cm |
10210 /1 |
20420 /1 |
30630 /1 |
51051 /1 |
|
|
Ib·in |
88622 /1 |
17724 /1 |
26586 /1 |
44311 /1 |
|
|
精度 |
±1% |
||||
|
峰值采樣頻率 |
2000HZ |
||||
|
測試轉速 |
≤15000rpm |
||||
|
電源 |
8.4V 1.2VX7 鎳氰電池組 |
||||
|
充電時間 |
4~6小時 |
||||
|
電池連續使用時間 |
約10小時 |
||||
|
電池壽命 |
≥300次 |
||||
|
尺寸 |
帶打印機類:230mm×95mm×180mm 不帶打印機類:230mm×70mm×125mm |
||||
|
凈重量 |
帶打印機類:8.5KG 不帶打印機類:6.5KG |
||||
|
電源適配器 |
輸入:AC 220V 50HZ 輸出:DC 10V 300mA |
||||
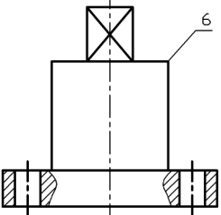
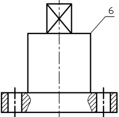
四、各部件的名稱與功能

無打印機類

帶打印機類
1、液晶顯示窗 2、指示燈
3、功能按鍵 4、電源插座
5、通訊接口 6、扭矩傳感器
7、打印機
1.液晶顯示窗
a、開機顯示
開機顯示廠家信息歡迎您的使用以及顯示產品型號
b、用戶主界面顯示
1 測量模式:分為實時、峰值、自動峰值三種模式,用戶可根據需要自由選擇。
2 測量扭轉方向:“順”是指順時針方向,“逆”是指逆時針方向。
3 測量力值。
4 測量單位:N·m、kgf·cm、Ib·in三種單位根據需要自由選擇。
5 電池電量指示:當電池電量低度時,顯示“
”或插上配套電池上限紅色指示燈快閃之后呈紅色燈恒亮,則需要充電。
1、 指示燈
1 充電:當使用配套電源適配器充電時,即為紅燈亮。
2 飽和:當使用配套電源適配器充電充滿后,即為綠燈亮。
3 通訊:當使用配有帶打印機功能的儀器。
4 報警:上下限報警,當測量力值高于上限值,些燈亮起呈紅色及峰鳴器報警;當測量力值低于下限值,些燈亮起呈綠色及峰鳴器報警。
2、 功能按鍵

a、 “ON/OFF”鍵:電源開關,開機和關機。
b、“打印”鍵:用于配有帶打印機的儀器上,按下此鍵,打印出儀器內部保存的測量數據(無打印功能的除外)。
c、“設置”鍵:用戶在測量模式時可以通過此鍵進入設置菜單。
d、“查看”鍵:在測量模式時通過此鍵可以查看存儲的測量數據,再按1次則返回測量模式。
e、“▲”鍵:在用戶設置界面,按此鍵可上下修改設置項,在參數設置時,按此鍵可以在當前位進行數據修改;在查看界面,按此鍵可以查看上一個數據。
f、“▼”鍵:在用戶設置界面,按此鍵可以向下修改設置項,在參數設置時,按此鍵可以按位移動,來選擇要修改的位數;在查看界面,按此鍵可以查看下一個數據。
g、“峰值”鍵:用來切換實時、峰值、自動峰值三種測量模式。
h、“保存”鍵:用來保存測量的數據。
i、“單位”鍵:用來切換N·m、kgf·cm、Ib·in三種單位。
j、“置零”鍵:①、在實時測量時,按此鍵可以修正零點;
②、在峰值和自動峰值時,按此鍵可以清除峰值,恢復到零點;
③、在查看界面時,按此鍵三次可以刪除所有記錄;
④、在用戶設置界面,按此鍵不保存數據退回上一級界面。
3、 電源插座:用于與外接電源連接或充電。
4、 通訊接口:USB接口輸出,用于連接電腦。
5、 扭矩傳感器
6、 打印機:打印出儀器內部保存的測量數據。
五、工作環境
1、操作溫度:-10℃~40℃。
2、操作濕度:≤90%RH。
3、周圍無震動源和無腐蝕性環境。
六、操作步驟
1、在使用高速沖擊扭矩測試儀之前,先檢查儀器電量是否充足,若電量不足,請先充電(充電時也可使用)。
2、將傳感器用M6螺釘固定在試驗工作臺上,安裝時要確保在最大扭矩時工作臺不被移動。

3、正常情況下,打開電源開關,顯示的扭矩值為零,如果不為零按清零鍵,將扭矩值清零。
4、測試前,第一需設置好上下限值、最小存儲值、最小峰值保持值、自動峰值時間、自動關機時間、重力加速度等,具體操作步驟如下:
a、在用戶主界面第1次按下“設置”鍵進入用戶設置界面,顯示屏顯示如下:
通過向上鍵或者向下鍵進行設置項的選擇,選擇到選擇到用戶的設置項時,通過按設置鍵進入參數設置界面。
b、參數設置界面
在用戶設置界面,按“設置”鍵進入參數設置界面顯示如下:
設置參數說明:(以上限值設定為例)
通過“▲”鍵和“▼”鍵進行數據修改和移位,此時按“保存”鍵保存設置數據,顯示屏界面返回用戶設置界面,可進行下一設置項的設置。(如按“置零”鍵則返回到進入用戶設置界面,不保存修改數據),當所有設置項都設置好并保存后,直接按“ON/OFF”鍵關機,再按“ON/OFF”鍵開機,進入用戶主界面。設置的數據不能超過最大負荷值。
①、上限值設定:用戶設定上限值,根據需要自由設定,達到上限值即自動聲光報警,上限值不高于滿量程。
②、下限值設定:用戶設定下限值,根據需要自由設定,達到下限值即自動燈光報警,下限值不得高于設定的上限值。
③、最小存儲值設定:用戶根據存儲需要設定最小存儲值,小于該值的數據將不被儲存。
④、最小峰值保持值設定:用戶根據峰值,自動峰值測量需要自由設定,小于該值的數據不被峰值保存。
⑤、自動峰值時間設定:用戶根據自動峰值測量狀態下峰值需要保持的時間從1秒~99秒自由設定。
⑥、自動關機時間設定:無操作狀態下,自動關機時間從0分鐘~9分鐘可自由設定(當設置為0分鐘則表示為解除自動關機)。
⑦、重力加速度設定:用戶可根據本地區的位置設定重力加速度值,本機默認9.794。
⑧、恢復初始設置:用戶操作不當或多次更改數據出現混亂,可以通過此項設置來把1~7的數據恢復到出廠狀態。
5、測試前,第二選擇測量模式
在用戶主界面顯示為實時測量模式,當第1次按“峰值”鍵進入峰值測量模式,第2次按“峰值”鍵進入自動峰值測量模式,再(也就是第3次)按“峰值”鍵時則返回實時測量模式,依次循環,如下圖所示:
6、測試前,第二選擇測量單位
在任一測量模式第1次按“單位”鍵由顯示為N·m單位進入到Kg·cm單位顯示,第2次按“單位”鍵進入Ib·in單位顯示。
7、測試過程中可按“保存”鍵將測量數據保存。
注:在測試過程中當測量值超過上限值時,通訊指示燈會顯示呈紅色,蜂鳴器也會進行報警;當測量值低于下限值時,通訊指示燈會顯示呈綠色,蜂鳴器仍會進行報警。當測量值超過最大負荷的120%時,可能會導致傳感器的損壞。當測量值超過最大負荷的150%時,肯定會導致系統的損壞。當出現“嚴重超載”警告提示后自動關機,儀器即進入自動保護狀態,須重新開機,顯示屏顯示“嚴重超載”警告提示,按“設置”鍵進入用戶設置界面,通過“▼”鍵選擇恢復初始設置項,再按“設置”鍵顯示屏顯示輸入密碼提示,其輸入密碼依次按“▲”、“▼”、“峰值”、“保存”、 “▲”、“▼”、“峰值”和“保存”鍵即可恢復(若無法恢復時請聯系廠家)。
8、測試過后可按“查看”鍵查看已保存的數據,通過“▲”鍵和“▼”鍵顯示上1條已保存數據或下1條已保存數據。
9、使用完扭矩測試儀后,按“ON/OFF”鍵關掉電源開關,并將測試儀放回儀器箱里。
七、USB輸出
本儀器通過USB和上位機進行通訊。通訊協議采用MODBUS-RTU協議。儀器與軟件的具體連接方法如下:
1、用直連線將本儀器與電腦,用USB公頭與本儀器連接,RS-232母頭與電腦連接好。
2、打開儀器電源,使儀器處于測量界面。
3、將隨機附帶的光盤放入電腦光驅,打開串口軟件徑:光驅\ software \AutoTest.exe。
4、點擊軟軟件窗口下方的“系統”按鈕,彈出“系統設置”對話框,在通信口中選擇與電腦相應串口,具體操作步驟如下所示:
①、右擊“我的電腦”選擇“屬性”,在彈出“系統屬性”對話框中選擇“硬件”選項欄,再點擊“設備管理器”按鈕(如下圖所示):

②、在彈出“設備管理器”的對話框中查看端口項類的子項串口號(如下圖所示):

③、返回軟件彈出的“系統設置”對話框,在通信口中選擇對應串口號(比喻為“5”),再按確定,如下圖所示:

④、關閉軟件,重新雙擊AutoTest.exe后,方可檢查是否已將串口連上,其檢查方法有多種:在儀器的傳感器上施加點力,查看軟件窗口上方的扭力值是否對應跳動,若跳動則表示已經連接上,否則反之。
⑤、點擊軟件窗口下方的“設置”按鈕,彈出“參數設置”對話框,根據測試需要填寫相應的數據。具體參數大小如6-3-b步說明填寫。填寫完畢后,按“確定”按鈕即可。設置成功后,在軟件窗口下方顯示數據會隨之改變。

⑥、先確定串口已連接上,按“開始”按鈕進行同步測試。
⑦、測試完成按“停止”按鈕點擊“保存”或“停止”即可。保存則將測試曲線保存入軟件內,停止則反之。
⑧、軟件界面介紹:
a、上方有扭力值顯示區、時間顯示區和測試次數號。
b、左則有上限線、下限線、指示線、規格顯示、顯示曲線、清除曲線和導出曲線。
上限線:在上限線前方的方塊勾上時,曲線顯示窗有上限扭力值的水平線顯示。
下限線:在下限線前方的方塊勾上時,曲線顯示窗有下限扭力值的水平線顯示。
指示線:即鼠標在曲線顯示窗內呈十字形,而十字鼠標位置每移一處對應的扭力值顯示區與時間顯示區都會隨之而變。
規格顯示:顧名思義就是顯示儀器的規格(型號與量程)。
顯示曲線:點此按鈕跳出“選擇曲線”對話框,選擇所需顯示的測試項目,再選所需顯示的測試次數。
清除曲線:只是擦除當前顯示的曲線,而并非將此曲線從軟件內刪除掉。
c、下方有設置、開始、停止、報表、系統、幫助、刪除和退出按鈕。
設置、開始、停止和系統按鈕在前方已有介紹過。
報表:點此按鈕跳出“曲線數據選擇預覽”對話框,先選擇采樣點頻率的大小后再選擇所需顯示的測試項目和所需顯示的測試次數,最后點“Execl”按鈕即可。
八、注意事項、保養及維修
1、請勿超負荷測試扭矩,一定要在扭矩測試儀的測試范圍內測試扭矩,否則會損壞儀器,更有可能會造成危險。
2、請勿敲擊液晶顯示屏將物體放在液晶顯示屏上。
3、請勿用指甲、利器或尖的物體按功能鍵。
4、請勿在水、油或其他液體濺到的地方使用扭矩測試儀,要將扭矩測試儀存放于陰涼、干燥和沒有振動之處。
5、請勿打開背后的小蓋子、更不能調校里面的微調電阻。
6、請勿松動扭矩測試頭的固定螺絲。
7、請使用配套的電源適配器充電,否則會引起電路故障,甚至引起火災。
8、將AC電源適配器完全插入插座后再使用,插頭松動可能會引起短路而導致電擊或火災。
9、不要使用電源適配器額定電壓以外的其它電源,否則可能會引起電擊或火災。
10、請不要濕手拔出或插入插頭,否則可導致觸電。
11、請用柔軟的布來清潔本機,將干布浸入泡有清潔劑的水中,擰干后再清除灰塵和污垢。不要使用易散發的化學物質,例如揮發油、稀釋劑、酒精等。
12、使用和搬運過程中要輕拿輕放。
13、不要自行拆卸、修理或改造本機。些行為可能會引起儀器永久性故障。
14、發生故障請與原購買處或本公司聯系。
15、本產品自銷售之日起一個月內,在正常使用及外觀無破損情況下出現產品質量問題,客戶憑銷售發票原件、有效保修卡及完整包裝到原購買處或本公司更換相同的規格型號的產品,更換以后的產品延續原產品的保修期限和條款。
16、本產品自銷售之日一年內,在正常使用情況下,出現非人為故障屬保修范圍(用戶自行拆機或在其他維修點維修本公司不與保修),客戶憑銷售發票原件和有效保修卡聯系原購買處,可獲本公司免費保修一年。
17、本產品的保修條款僅適用于在中國市場上銷售的高速沖擊扭矩測試儀產品,對超過包換期及保修期限的產品,客戶可向原購買處查詢維修事宜或與本公司聯系,由本公司提供有償維修。





